ברוכים הבאים לקהילת תוכי אינפו. מערכת הפורומום זמינה לקריאה בלבד. לדיונים הנכם מוזמנים לקבוצת הפייסבוק:
קבוצת הפייסבוק של תוכי אינפו. לחצו כאן למעבר.
בנוסף, הנכם מוזמנים לצפות בפורטל ולקרא מאמרים, מדריכים, ביקורות ועוד... לחצו כאן למעבר.

כלוב מרשת קשיחה - תלייה על הקיר, קאטר מתאים ועצות בנייה

פורום מקצועי שאלות ותשובות בהשתתפות מגדלי תוכים מכל הזנים. בכל דיון יש לכתוב כותרת
עניינית ולתת פרטים מלאים בכל דיון: סוג התוכי, גיל, מזון, תנאי מחייה וכו' לא יתקבלו דיונים
לשם הצגה בלבד. פרטים נוספים וכללי פורום זה: קישור.

מנהל: מפקחים

סמל אישי של משתמש
שירלי87
ניצוי מלא
ניצוי מלא
הודעות: 8724
הצטרף: 19 מרץ 2010 18:46

כלוב מרשת קשיחה - תלייה על הקיר, קאטר מתאים ועצות בנייה

שליחה על ידי שירלי87 »

אני שוקלת להחליף את הכלוב של הקוקטיילים בכלוב פלטות ולתלות על הקיר.. פשוט יהיה קל ונוח יותר לשמור על ניקיון ואני אוכל לשים
מגירות כי אי אפשר להרכיב על הכלוב הנוכחי ניסיתי כמה פעמים ולא הלך... בקיצור ,

1. כלוב 1*2*1, מרשת פלטות קשיחה, איך לתלות על הקיר? צריך ברגים מיוחדים? דיבלים? כמה? איפה?
לא מבינה בדברים האלה אני אשמח לעזרה מה צריך כדי לתלות שיהיה יציב וחזק מספיק שיישא את משקל הכלוב,
ואיך בדיוק לתלות..איזה כלים צריך..

2. איזה קאטר צריך כדי לחתוך את הרשת פלטות?

3. אני רוצה את החלק התחתון של הכלוב שיהיה מ2 רשתות, כלומר שאני אוכל ביניהן להכניס מגירה כדי שהלכלוך לא יפול לריצפה,
אבל הייתי רוצה שכל החלק התחתון יהיה ניתן לפירוק/פתיחה כמו שפותחים דלת אבל שייפתח כלפיי מטה, כדי שאני אוכל לנקות את הרשת
התחתונה אחרת לא תהיה לי גישה ויצטבר שם לשלשת ושאריות מזון
אז יש לכם רעיון איך לעשות את זה? כדאי בכלל לעשות דבר כזה?


~תודה, חג שמח~!
סמל אישי של משתמש
eli_lea
הידד אני תוכי!
הידד אני תוכי!
הודעות: 32614
הצטרף: 23 אוקטובר 2007 16:28
שם פרטי:: יש כינוי
איש קשר:

Re: כלוב מרשת קשיחה - תלייה על הקיר, קאטר מתאים ועצות בנייה

שליחה על ידי eli_lea »

את מדברת על כלוב אחד גדול פתוח ללא חלוקה ? אם כך לדעתי תצטרכי חיזוקים מתחת לכלוב לתמיכה. אפשר לבצע חיזוקים מבלי לחסום את החלל מתחת לכלוב.
הקאטר עם הידית הצהובה יכול לחתוך ללא קושי מיוחד את הרשת:
http://www.tukinfo.com/parrtos-articles ... D7%91.html

אפשר לראות בסירטון איך החיתוך נעשה:
http://www.tukinfo.com/parrtos-articles ... D7%91.html

2*1 מטר זה מפתח גדול למגש וכדאי לחלק אותו לשני מגשים נפרדים, דבר שיקל על שליפת המגשים לניקוי
סמל אישי של משתמש
eli_lea
הידד אני תוכי!
הידד אני תוכי!
הודעות: 32614
הצטרף: 23 אוקטובר 2007 16:28
שם פרטי:: יש כינוי
איש קשר:

Re: כלוב מרשת קשיחה - תלייה על הקיר, קאטר מתאים ועצות בנייה

שליחה על ידי eli_lea »

את יכולה לבנות את הכלוב כאשר הרשת בחזית קטנה יותר בגובה כך שהיא יוצרת פתח לרוחב הכלוב, במרכז לחבר רשת בעמידה לחציית השטח לשני מגשים מה שיתן גם חיזוק לכלוב מלמטה ויבטל את ה"בטן" של הרשת.
לגבי שליפת הרשת לניקוי, זה אפשרי אבל מצריך הרבה עבודה (אני אסביר אם תרצי).
קל יותר ליצור 2 דלתות גישה רחבות הניתנות לפתיחה לניקיון הרשת התחתונה.

תמונה ראשונה הכלוב עם רשת חזית קטנה בגובה ליצירת מרווח למגש:
1.JPG

תמונה שנייה לאחר הכנסת הרשת התחתונה , המיקום ישר עם סוף הרשת החזיתית מה שמשאיר מקום להשחיל מגש:
2.JPG
תמונה שלוש רשת שמשמשת למחיצה ולחלוקת התחתית לשני חלקים:
3.JPG
סמל אישי של משתמש
שירלי87
ניצוי מלא
ניצוי מלא
הודעות: 8724
הצטרף: 19 מרץ 2010 18:46

Re: כלוב מרשת קשיחה - תלייה על הקיר, קאטר מתאים ועצות בנייה

שליחה על ידי שירלי87 »

55 כתב:את מדברת על כלוב אחד גדול פתוח ללא חלוקה ? אם כך לדעתי תצטרכי חיזוקים מתחת לכלוב לתמיכה. אפשר לבצע חיזוקים מבלי לחסום את החלל מתחת לכלוב.

2*1 מטר זה מפתח גדול למגש וכדאי לחלק אותו לשני מגשים נפרדים, דבר שיקל על שליפת המגשים לניקוי
כן כלוב אחד כמו שעכשיו, בלי חלוקה, איך אני עושה חיזוקים מתחת לכלוב? אני רוצה ששום חלק מהכלוב לא ייגע בריצפה
כלומר אני לא רוצה רגליות.. זה מקשה עליי כי כל יום אני מטאטאת ושוטפת את הריצפה אז אני רוצה שמתחת לכלוב שום דבר לא יפריע לי

אני אקנה פלייר כזה, תודה תמונה

אני אעשה מחיצה, תודה, לא ידעתי שצריך תמיכה לרשת/ריצפה של הכלוב תמונה

אני אשמח לדעת אם יש פטנט לפתוח את הכלוב מלמטה כי אני לא רוצה יותר מדי דלתות גישה, רק אחת כמו שיש עכשיו כדי להכניס אוכל
ומים. אני רוצה אם זה אפשרי למצוא דרך לפתוח את החלק התחתון של הכלוב כלפי מטה כמו דלת, כי ככה הכי קל מבחינת גישה, אני תולה את הכלוב במרכז הקיר או קצת יותר למעלה אז יהיה לי מקום לפתוח כדי לנקות ואז לסגור.

אגב איך אני תולה את הכלוב, איזה ברגים צריך? וכמה?

תודה ענקית:)
סמל אישי של משתמש
eli_lea
הידד אני תוכי!
הידד אני תוכי!
הודעות: 32614
הצטרף: 23 אוקטובר 2007 16:28
שם פרטי:: יש כינוי
איש קשר:

Re: כלוב מרשת קשיחה - תלייה על הקיר, קאטר מתאים ועצות בנייה

שליחה על ידי eli_lea »

את צריכה 4 נקודות עיגון לתליית הכלוב, דיבלים עם ווים שנקראים ווי תליה פתוחים. הדופן האחורית העליונה תתלבש עליהם והכלוב יהיה תלוי עליהם צמוד לקיר. מתחת את צריכה בשני הקצוות מחזיק מדף כמו שאת רואה בקישור הבא, עלות של מחזיק כזה 30 ש"ח לכל היותר והוא נצמד לקיר עם דיבלים וברגים.

קישור למחזיק מדף:
http://www.bitter.co.il/pd447_%D7%9E%D7 ... D7%92.aspx

תמונה של ווי תליה פתוחים :
11.jpg
11.jpg (9.5 KiB) נצפה 4916 פעמים
סמל אישי של משתמש
eli_lea
הידד אני תוכי!
הידד אני תוכי!
הודעות: 32614
הצטרף: 23 אוקטובר 2007 16:28
שם פרטי:: יש כינוי
איש קשר:

Re: כלוב מרשת קשיחה - תלייה על הקיר, קאטר מתאים ועצות בנייה

שליחה על ידי eli_lea »

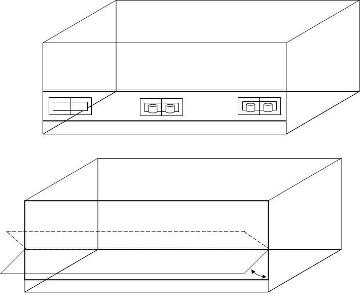
לגבי רשת נשלפת לניקוי , לדעתי זה מיותר מאחר והלשלשת כמעט ולא נשארת על הרשת והניקוי קל דרך דלתות הגישה , בכל מקרה אם את רוצה לעשות עשיתי לך שירטוט נוסף, בשירטוט את יכולה לראות שיש שלושה מחזיקי מדף לתיכה של הרשת, המחיצה האמצעים שהייתה קודם מתבטלת מאחר והיא תפריע לשליפת הרשת, את משתמשת בזויתן אלומיניום שנוח לעבור עימו ולחתוך אותו עם מספרי פח ויוצרת "ח" שנצמד לדפנות, את ממקמת את המסגרת כ 1 ס"מ מתחת למקום שבו מסתיימת הרשת החזיתית ובעצם יוצרת משטח עליו מחליקה הרשת. קחי בחשבון שמדובר ברשת גדולה וזה לא הכי נוח , בכלוב של 1*1 מטר זה יכול להיות קל בהרבה .
המקום הנותר מתחת לזויות לבין הרשת התחתונה זהו המקום בו יכנס המגש, את המגש אפשר לחלק לשני חלקים צמודים זה לזה כדי שהלשלשת לא תיפול ביניהם.

אם לא מובן לך תגידי אנסה להסביר שוב..
12.JPG

עוד אפשרות, יצירת שליש תחתון כדלת גישה עליה מותקנים כלי האוכל (אפשרות למסתובבים ) כשאת מעוניינת לנקות את הרשת התחתונה את שולפת את כלי האוכל מהמתקן, מרימה את הדלת כלפי מעלה ונועלת עם וו בצד, עכשיו בעצם החלק התחתון של הרשת לפנייך לניקוי, בסיום מורידה חזרה את הדלת מחזירה את כלי האוכל וזהו.
14.JPG
סמל אישי של משתמש
שירלי87
ניצוי מלא
ניצוי מלא
הודעות: 8724
הצטרף: 19 מרץ 2010 18:46

Re: כלוב מרשת קשיחה - תלייה על הקיר, קאטר מתאים ועצות בנייה

שליחה על ידי שירלי87 »

תודה רבה על השרטוט, הבנתי תמונה

נראה לי שאני אעשה דלת גישה.. צריך רק קליפסים לעשות את זה נכון?
וכדאי לקנות 3 מחזיקי מדף או שניים? תמונה
סמל אישי של משתמש
eli_lea
הידד אני תוכי!
הידד אני תוכי!
הודעות: 32614
הצטרף: 23 אוקטובר 2007 16:28
שם פרטי:: יש כינוי
איש קשר:

Re: כלוב מרשת קשיחה - תלייה על הקיר, קאטר מתאים ועצות בנייה

שליחה על ידי eli_lea »

אם את עושה דלת גישה אז המחיצה האמצעית חוזרת ואין צורך ביותר משתי תמיכות למטה.
הקליפסים המשמשים להרכבת הכלוב יכולים לשמש כצירים לדלת.
שלח תגובה

חזור אל “מגדלים תוכים”